Элементы линий электропередач
| Марка изделия |
Проектная
док-ция
|
Эскиз |
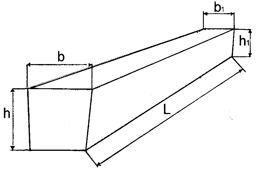
Габаритные размеры, мм |
Класс
(марка)
бетона
|
Объем
бетона, м3
|
Масса
изд. кг
|
Расход металла кг |
| L |
b/b1 |
h/h1 |
| Стойки для опор линий электропередач напряжением 0,4 – 10 кВ (ТУ 5863-007-00113557-94) |
| Св 95-3с |
Раб. чертеж №20.0139 |
 |
9500 |
150/165 |
240/165 |
В30 (М400) F200 W6 |
0,30 |
750 |
64,10 |
| Св 110-5 |
Раб. чертеж №20.0182 |
11000 |
170/185 |
280/165 |
0,45 |
1130 |
100,80 |
| Св 164-12 |
Серия
3.407.1-143
|
 |
16400 |
390/210 |
380/200 |
В25 (М350)
F200 W6
|
1,42 |
3550 |
355,40 |
| Железобетонные приставки для воздушных линий электропередачи напряжением до 35 кВ |
| Пт 43-1 |
Серия
3.407-57/87
|
 |
4250 |
100/180 |
220 |
В25 (М350)
F150 W2
|
0,13 |
325 |
23,30 |
| Пт 43-2 |
4250 |
100/180 |
220 |
0,13 |
325 |
29,60 |
| |
|
|
|
|
|
|
|
|
|
|
| Марка изделия |
Проектная
док-ция
|
Эскиз |
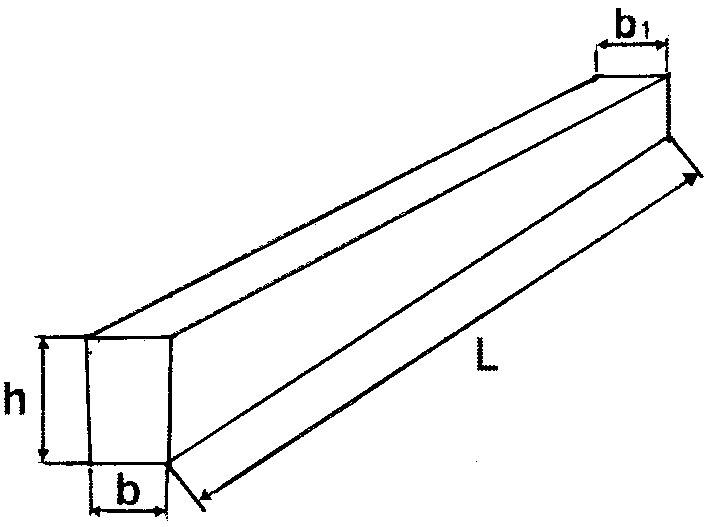
Габаритные размеры, мм |
Класс
(марка)
бетона
|
Объем
бетона, м3
|
Масса
изд. кг
|
Расход металла кг |
| L |
b |
h |
| Шестигранные опоры линий наружного освещения мощностью до 1 кВт |
| ОЛС-1 (ОЛС-2) |
Раб. чертеж
ГП 1307-КЖ
|
 |
9500 |
340 |
140 |
В22,5 (М300) F150 |
0.55 |
1375 |
75.55 |
| Опоры для троллейбусной контактной сети |
| ОП-1
(ОП-2)
|
Раб. Чертеж
ОАО «БСД»
|
 |
12000 |
416 |
200 |
В35 (М450) F150 |
1,06 |
2650 |
411,59 |
Примечание: в шестигранных опорах для наружного освещения ОЛС-2 и в опорах для троллейбусной контактной сети ОП-2 устанавливается кабельканал.